亲爱的市民朋友:
根据《深圳市罗湖区新型冠状病毒肺炎疫情防控指挥部通告〔2022〕7号》,自2022年9月6日起,罗湖区行政服务大厅恢复线下服务(包括婚姻登记、户政、出入境等业务)。现就有关事项通告如下:
一、进入大厅的办事人员,须提供24小时内核酸检测阴性证明,按要求扫场所码、查验健康码(绿码)及行程码。
二、请办事人员配合落实公共场所测温、扫码、限流、全程规范佩戴口罩、保持1米间距等防控措施。大厅将严格控制瞬时流量。
三、已成功预约9月1日、9月2日、9月5日业务办理的市民朋友无须再次预约。
(一)预约上述时段“商事主体登记业务”“保障房业务”“社保业务”的市民朋友请持最新恢复办理短信和原有效预约凭证,在指定时间段前往大厅办理业务。
(二)预约上述时段其他综合业务的市民朋友,可于9月6日-9月9日凭原有效预约凭证前往大厅办理业务。
四、罗湖区行政服务大厅实行预约进厅,可通过广东政务服务网(深圳-罗湖站)、“i深圳”APP、“i深圳”微信公众号、“i罗湖”微信公众号、“深圳掌上政务”小程序等渠道提前预约。预约人员将优先进入大厅,优先取号办理业务。未经预约的,如遇人员流量过大,可能会被限制进入。业务办理完毕后请尽快离厅,不逗留、不聚集。
五、建议优先采取“网上办、掌上办、自助办、邮寄办”等非接触式方式办理业务,或就近在24小时自助终端服务点进行自助办理。
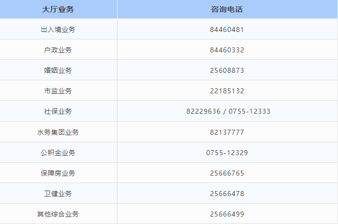
六、如有政务业务问题,可在工作时间(周一至周五9:00至12:00,14:00至18:00)拨打大厅咨询电话进行咨询。
我们将密切关注疫情防控形势,动态调整防控措施(敬请留意“i罗湖”微信公众号)。感谢您的理解与支持!
附:罗湖区行政服务大厅业务咨询方式
罗湖区政务服务数据管理局
2022年9月5日



